RSTT-M1质量流量计安装施工注意事项
2022-04-08 09:54:17
多宝(中国)
RSTT-M1质量流量计安装施工注意事项
如为新建管线,在吹扫过程结束后再安装传感器(或是有吹扫副线,吹扫时将流量计前后手阀切死);
在管线上进线焊接作业时,要取下传感器;
在安装大口径传感器时,不要将支撑物支撑在传感器外壳上。
1.管道不对中:
管道的检查,将一侧法兰的螺丝卸下,将两侧支撑的紧固件卸下,产看是否对中.如果发生偏移,则进行校准!


2.安装位置太高

3.安装位置过于狭隘

4.流量计传感器连接对侧法兰不匹配

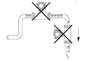
5.流量计安装在末端排空向下的方式,如下图(液体方式,气体与之相反)

6.连接电缆从下往上穿入仪表

7.从管线内进水

8.可以用钢尺或者角尺靠在法兰两侧检测,同心度偏差≤0.5mm。

TAG:
RSTT-M1质量流量