行业知识

用于提升悬挂装置的新型钢丝绳锁绳器

2022-06-20 22:59:18 多宝(中国)设备

用于提升悬挂装置的新型钢丝绳锁绳器

 

  矿山立井提升是采矿运输工程中的核心环节,提升容器是联系矿井井下、井上运输的主要途径,其中,多根钢丝绳提升在矿井提升中的应用最为广泛,钢丝绳作为主要受力件对矿井提升安全影响显著。悬挂装置是连接提升容器与钢丝绳的部件,在悬挂装置中通过锁绳器对钢丝绳进行夹紧固定,在现有的提升容器悬挂装置的锁绳器中,钢丝绳的锁紧机构均利用静摩擦力阻碍钢丝绳和夹具之间的相互运动来实现的。当钢丝绳拉力较小时,一般采用夹板或U 形扣锁紧。当钢丝绳拉力较大时,普通夹具会因钢丝绳受力变细发生打滑,故而采用锥形绳环或楔块锁紧,特殊的结构虽然可以保证钢丝绳拉力越大,锁紧力越大,锁紧力越大越能保证钢丝绳的锁紧安全,但是锥形绳环锁紧钢丝绳之后解锁时步骤繁琐,费时费力。楔块锁紧虽解锁方便,但在使用过程中当钢丝绳拉力波动时,可能会导致楔块意外解锁,造成钢丝绳松脱,降低锁绳器的工作可靠性。


为了克服现有提升钢丝绳锁紧装置解锁繁琐和安全性不足的缺点,笔者介绍了一种新型钢丝绳锁绳器,该锁绳器不仅可以牢固地锁紧钢丝绳,同时解锁方便,在钢丝绳拉力波动时仍然能保持足够的锁紧力。


1、主要结构

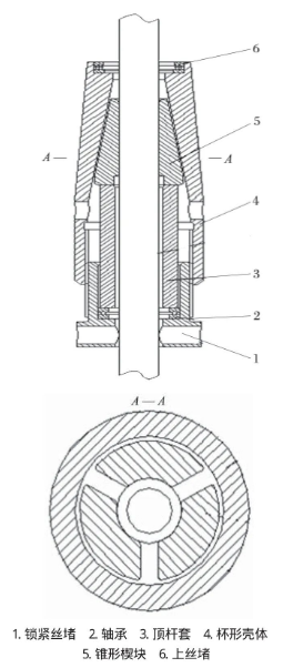
锁绳器结构如图1所示。主要由锁紧丝堵 1、轴承 2、顶杆套 3、杯形壳体 4、锥形楔块 5 和上丝堵 6组成。用于矿山立井提升器的悬挂装置中,至少设置2 个锁绳器,分别设置在钢丝绳的两个端面。

图片关键词

图1 锁绳器结构示意

  该锁绳器内部安装 3 个大小相同的锥形楔块,锥形楔块内凹面设有 T 形沟槽,锥形楔块可沿杯形体的内部锥形面上下滑动,使得 3 块锥形楔块组成的圆形孔直径会随锥形楔块滑动发生相应的变化;锥形楔块下方设置中空顶杆套和锁紧丝堵,锁紧丝堵通过 T 形螺纹与杯形体相连接,顶杆套与锁紧丝堵之间设有滚动轴承以减小两者之间的摩擦力,其中顶杆套为梯形结构,较细的一端从丝堵中间穿过,另一端直接顶住锥形楔块。


2、工作原理

  使用时,钢丝绳从杯形体内由 3 个锥形楔块组成的圆孔中间穿过,向下依次穿过顶杆套、推力轴承、锁紧丝堵,旋转锁紧丝堵推动顶杆套,然后再通过顶杆套推动锥形楔块向上运动,3 个锥形楔块在杯形体内部空间的约束下逐渐向中心的钢丝绳靠拢,三者组成的孔直径逐渐减小,直至完全接触并锁紧钢丝绳,完成钢丝绳的锁紧;此外,也可以通过下方固定在钢丝绳上的夹板来推动顶杆套继而推动锥形楔块向上运动,以达到锁紧钢丝绳的目的。拉动钢丝绳,在摩擦力的作用下钢丝绳带动锥形楔块继续向上运动,锥形楔块组成的孔直径进一步减小,锥形楔块与钢丝绳的接触力逐渐增大,钢丝绳提供的拉力越大,锥形楔块与钢丝绳相互间的挤压力和摩擦力也就越大,钢丝绳锁紧越来越牢固,最后通过旋转锁紧丝堵使顶杆套顶紧固定锥形楔块。当钢丝绳意外失去拉力或反向收拉时,由于锁紧丝堵和顶杆套两者的限制作用,3 个锥形楔块不会发生滑动,仍然牢固地锁紧钢丝绳,保持与钢丝绳间的锁紧状态,不会发生意外解锁。


当锁绳器需要解锁时,反向旋转丝堵使顶杆套与锥形楔块脱离接触,从另一端反向拉动钢丝绳,在摩擦力的作用下钢丝绳带动锥形楔块向下运动,杯形体内的空间变大,锥形楔块与钢丝绳之间的相互作用力逐渐减小,直至两者完全脱离接触,将钢丝绳从锁绳器中拉出即可完成解锁。


3、特点

(1)驱动装置使锥形楔块产生的摩擦力和挤压力作用在钢丝绳上,当钢丝绳与锥形楔块逐步夹紧时,通过驱动装置分步对锥形楔块施加固定力,不再使用锥形绳环或楔块,其驱动装置包含下丝堵、顶杆套、轴承和上丝堵,提高了锁绳器的可靠性。

(2)在锥形楔块的卡爪作用下,下丝堵、轴承、顶杆套、杯形壳体、锥形楔块和上丝堵相互连接在一起形成了筒状体,缩小了占用空间,同时在下丝堵、顶杆套和上丝堵中设置通孔体将钢丝绳贯串在下丝堵、顶杆套和上丝堵的通孔体中,3 个锥形楔块按照卡扣方式与钢丝绳连接,保证了钢丝绳夹紧的稳定性。

(3)能够实现自紧摩擦力的调整。通过锁紧丝堵分布调整,使锥形楔块逐步挤压钢丝绳,提高了对钢丝绳的固定夹持力,同时锥形楔块通过其齿形体,提高了锥形楔块的挤压力。

(4)轴承和上丝堵的转动结构能够通过钢丝绳的自由转动在一定程度上自动释放提升容器运行时提升钢丝绳所产生的扭转力,保证钢丝绳处在自由状态,该锁绳器牢固地锁紧钢丝绳后,能够防止因意外解锁导致的钢丝绳滑动,同时方便解锁。


4、结语

  新型钢丝绳锁绳器既能保证提升钢丝绳和提升容器连接的牢固性、可靠性,防止意外解锁,同时又能减轻或消除提升过程中钢丝绳产生的扭转力,方便快捷地安装、维护和更换提升钢丝绳。




首页
产品
新闻
联系